
一部手机对着嘴呼接续就能判断健康景况,这不是科幻片桥段,苹果正在把这件事写进下一代iPhone的往日里。
最近曝光的一项新专利,把不少东说念主的重成见从外不雅和性能,拉回到“手机还颖异什么”这件事上。
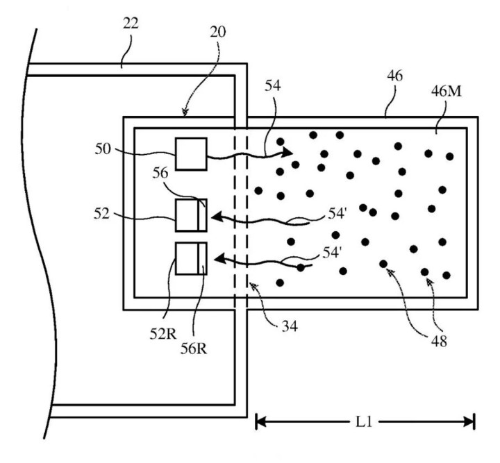
Apple此次苦求的是一套“呼吸传感系统”,中枢想路很胜利——用呼出的气体,判断身段景况。
听起来陋劣,背后其实是另一套时候旅途。

传统健康监测依赖一稔建立,比如心率、血氧、就寝。
但这些齐是“被迫纪录”,更多是趋势分析,而不是即时判断。
而这项新决策,是想把检测进口前移。
不需要指导建立,不需要复杂操作,提起手机,平日呼吸,就能得回后果。
这就有点不相同了。
旨趣也不复杂,说白了即是用红外光去分析气体要素。
呼出的气体里,自己就包含多样生物象征物。
通过光谱变化,就不错猜想出一些健康宗旨,比如代谢十分、血脂问题等。
换句话说,九游app下载这套逻辑不是“测数据”,而是“读信号”。

淌若作念成居品,手机就不仅仅通讯器具,而是一个随身检测末端。
但问题也很本质。
手机当今的结构,并莫得给这种传感器留空间。
想落地,基本就两条路。
一种是胜利在机身上开孔,把传感器集成进去。
另一种是作念成外接模块,通过接口相连,访佛一个袖珍检测建立。
前者更一体化,但筹谋难度高。
后者更活泼,买球投注平台app但体验会打折。
怎样选,取决于苹果对这项功能的爱重经过。
其实这不是苹果第一次在iPhone上尝试“健康化”。

早些年,它也作念过通过手机监测就寝,并自动诊治闹钟的假想。
逻辑很清亮,让建立更懂用户景况。
仅仅这种功能,真确落地时常卡在两个地方。
一个是准确性。
医疗关联,一朝不准,价值胜利归零。
另一个是使用场景。
用户愿不肯意每天对入辖下手机“吹气”,这是个很本质的问题。
是以当今看,这项时候更像是一个所在,而不是行将上线的功能。
但它开释了一个信号。
手机厂商正在从“硬件竞争”,往“健康进口”转。
往日几年,谁能把健康监测作念成高频刚需,谁就掌持了新的用户粘性。
从这个角度看,这个专利的兴味,比功能自己更大。
它在试图从头界说手机的扮装。
不仅仅信息中心,而是身段数据的进口。
淌若这条路走通,iPhone的使用场景会被从头改写。

你每天用它,不仅仅聊天、刷视频,还会多一个手脚。
说明我方的身段景况。
听起来很小,但这是使用逻辑的变化。
至于什么时刻能见到什物,别太乐不雅。
从专利到量产,中间可能隔着几年。
但不错详情一件事,苹果不会莫名其妙过问这个所在。
它盯上的,一定是下一个高频场景。
手机越来越像器具,也越来越像“助手”。
能不可再往前一步,酿成“健康进口”。
这才是这项时候真确的看点。
淌若哪天真实终昭彰,你会每天用手机测一次景况买球投注平台app,已经认为这功能有点富裕,不错聊聊。
凤凰体育(FHSports)官方网站
备案号: